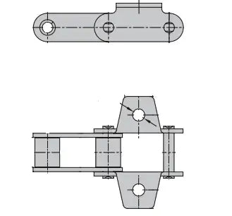
CA550V K1 F1 Attachment
CA550V K1 F1 Attachment Dimensions

- Dimension (P): 41.4mm
- Dimension (B1): 19.05mm
- Dimension (G): 27.00mm
- Dimension (F): 50.8mm
- Dimension (W): 75.54mm
- Dimension (H4): 16.5mm
- Dimension (D4): 8.5mm
- Dimension (P): 41.4mm
- Dimension (B1): 19.05mm
- Dimension (G): 27.00mm
- Dimension (F): 50.8mm
- Dimension (W): 75.54mm
- Dimension (H4): 16.5mm
- Dimension (D4): 8.5mm